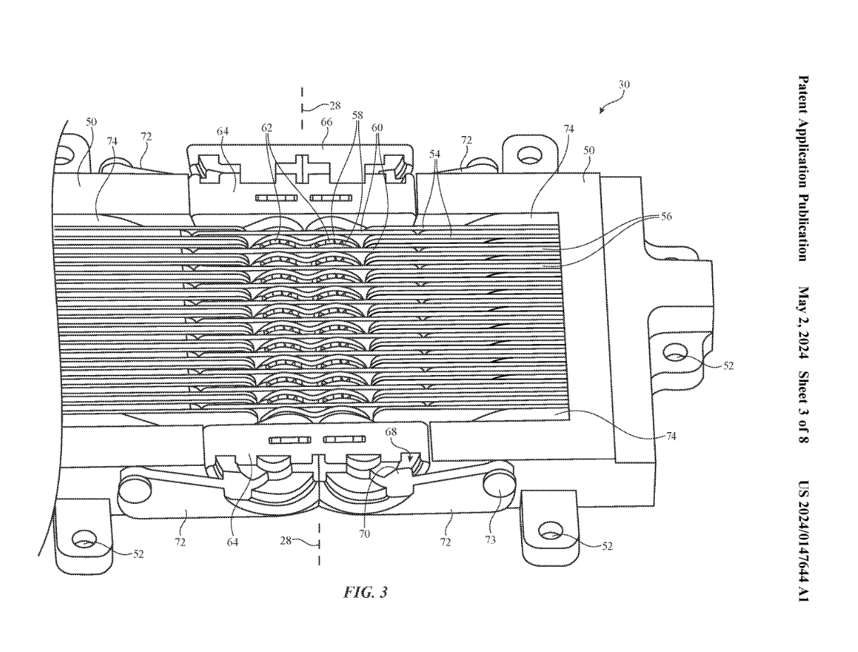
苹果折叠屏 iPhone 新专利获批,探索向内、向外双向折叠
依据美国商标和专利局(USPTO)近来公示的
清单
,苹果公司获得了一项关于折叠屏 iPhone 的新专利,最大的亮点在于共同的铰链规划,能够完成向内、向外双向折叠。
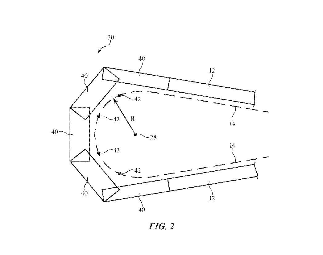
现在干流折叠屏手机只能完成向内或许向外单向折叠方法,而苹果在这项专利中探究了双向折叠方法,相关图片如下:

图 2 中运用多个 #40 铰链衔接,然后互相耦合以旋转运动,让外壳#12 的榜首部分和第二部分之间串联延伸,不过专利图来看相邻铰链连杆的全体旋转量可能会受到限制。

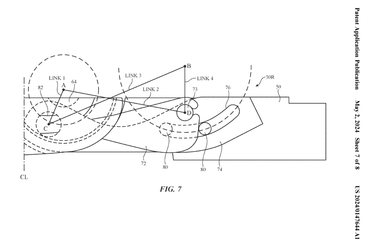
图 5 中展现了齿轮状的铰链规划,齿轮板具有包容轴 #82 的开口 #84,以便齿轮板能够绕轴旋转。外壳 (#12) 的一半绕轴 #28 旋转时,板的合作齿使外壳的另一半同步旋转。



